Пневмогидроаккумулятор (другими словами демпфер пульсации, гаситель пульсации, компенсатор пульсации) предназначен для гашения пульсаций, вибраций и колебаний потока жидкости, возникающих в гидравлических системах, которые негативно влияют на работу оборудования и системы в целом. Пульсацию в гидравлической системе можно оценить коэффициентом неравномерности давления – отношением разницы максимального и минимального давления к среднему значению давления в системе. Благодаря применению ПГА возможно снизить коэффициент неравномерности давления в системе до 3-5%.
Завод Ареопаг выпускает пневмогидроаккумуляторы с разделением сред следующих типов:
В ПГА баллонного типа производства ООО "ЗДТ "Ареопаг" в качестве разделителя сред применяется баллон из смеси резиновой на основе HNBR. При применении такого типа ПГА требуется проверка химической стойкости материала баллона к рабочей среде.
В большинстве мембранных ПГА в качестве разделителя сред используется мембрана из фторопласта Ф-4, удовлетворяющая требованиям по химической стойкости для абсолютного большинства, дозируемых жидкостей. Кроме того, ООО "ЗДТ "Ареопаг" производит ПГА объемом 0,1 дм3 с мембранами из резин типа EPDM или NBR. При применении такого типа ПГА требуется проверка химической стойкости материала мембраны к рабочей среде.
Выбор ПГА зависит от конкретных требований гидравлической системы, таких как:
- дозируемая жидкость;
- подача в линии, требующей установки ПГА;
- рабочее давление системы;
- условия эксплуатации.
Для заправки пневмогидроаккумулятора рекомендуется применять инертный газ (аргон, азот).
ПГА относится к изделиям общего назначения, восстанавливаемым, ремонтопригодным, обслуживаемым по ГОСТ 27.003 и выпускаются в климатическом исполнении У, категории размещения 3 по ГОСТ 15150.По запросу заказчика гаситель пульсации может выпускаться в иных климатических исполнениях.
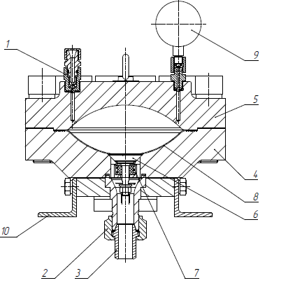
Устройство мембранного пневмогидроаккумулятора:

Номера позиций:
1 – клапан заправки, 2 – гайка накидная, 3 – ниппель под приварку, 4 – корпус нижний, 5 – корпус верхний, 6 – клапан (затвор), 7 – пружина,
8 – разделитель эластичный, 9 – манометр.
Устройство баллонного пневмогидроаккумулятора

Номера позиций:
1 – клапан заправки, 2 – гайка накидная, 3 – ниппель под приварку, 4 – корпус нижний, 5 – корпус верхний, 6 – клапан (затвор), 7 – пружина,
8 – разделитель эластичный, 9 – манометр, 10 – кронштейн, 11 – фланец, 12 – корпус сварной.
Монтажные схемы ПГА с разделителем сред:

а) монтаж ПГА с разделителем сред в разрыв нагнетательного трубопровода

б) монтаж ПГА с разделителем сред врезкой в нагнетательный трубопровод

в) монтаж ПГА с баллонным разделителем сред в нагнетательный трубопровод
Рекомендации выбора ПГА с разделителем сред в зависимости от подачи насоса:
1) ПГА подбирается исходя из подачи и давления в гидравлической системе согласно таблице 1.
Таблица-1 Подбор ПГА с разделителем сред исходя из подачи и давления системы
|
Полный газовый объем ПГА V0, л
|
Максимальное давление ПГА,
кгс/см2
|
Подача насоса Q (одноплунжерный),
л/ч
|
Подача насоса Q
(двухплунжерный, двойного действия или дифференциальный), л/ч
|
Подача насоса Q (трехплунжерный),
л/ч
|
Типа ПГА с разделителем сред
|
Температура рабочей среды, °С
|
|
0,1
|
500
|
0-60
|
0-150
|
0-240
|
Мембранный ПГА на нагнетание
|
от - 60 до +150 °С
|
|
0,1
|
6
|
0-60
|
0-150
|
0-240
|
Мембранный ПГА для всасывающего трубопровода
|
|
0,25
|
440
|
60-150
|
150-375
|
240-600
|
Мембранный ПГА на нагнетание
|
|
0,63
|
320
|
150-380
|
375-945
|
600-1500
|
Мембранный ПГА на нагнетание
|
|
1,6
|
180
|
380-960
|
945-2400
|
1500-3800
|
Мембранный ПГА на нагнетание
|
|
6,3
|
320
|
960-3800
|
2400-9100
|
3800-17500
|
Баллонный ПГА на нагнетание
|
|
6,3
|
6,3
|
960-3800
|
2400-9100
|
3800-17500
|
Баллонный ПГА для всасывающего трубопровода
|
Примечание: данные приведены для коэффициента неравномерности (отношению разницы минимального и максимального к среднему давлению в системе равному 5 % с частотой хода плунжера в минуту 100, не менее).
2) Исполнения ПГА по материалу корпусных деталей проточной части преимущественно изготавливаются из стали К - хромоникелевых сталей типа 12Х18Н9Т ГОСТ5632.
По согласованию между Заказчиком и Изготовителем допускается изготавливать проточную часть из:
Стали Д - Хромистые стали типа 20Х13 ГОСТ 5632;
Стали Е- Хромоникелемолибденовые стали типа 10Х17Н13М2Т ГОСТ 5632;
Стали И - Хромоникелемолибденовые стали типа 06ХН28МДТ ГОСТ 5632;
Стали Т- Титановые сплавы типа ВТ1-0 ГОСТ 19807
3) При подборе ПГА необходимо учитывать материал разделителя сред, поскольку резиновые мембраны (EPDM, NBR) и баллоны (HNBR), применяемые в некоторых моделях ПГА, необходимо проверять на химическую стойкость к дозируемой жидкости, в отличии от фторопласта, удовлетворяющего требованиям по химической стойкости для абсолютного большинства, дозируемых жидкостей
Безопасность ПГА подтверждена:
-
ДЕКЛАРАЦИЕЙ ЕАЭС N RU Д-RU.PA03.B.16583/22 О СООТВЕТСТВИИ ПГА ТРЕБОВАНИЯМ ТЕХНИЧЕСКОГО РЕГЛАМЕНТА ТАМОЖЕННОГО СОЮЗА: «О БЕЗОПАСНОСТИ МАШИН И ОБОРУДОВАНИЯ» (ТР ТС 010/2011)
-
СЕРТИФИКАТОМ СООТВЕТСТВИЯ № ЕАЭС RU C-RU.ПБ98.В.00458/24, ВЫДАННЫМ АВТОНОМНОЙ НЕКОММЕРЧЕСКОЙ ОРГАНИЗАЦИЕЙ ДОПОЛНИТЕЛЬНОГО ПРОФЕССИОНАЛЬНОГО ОБРАЗОВАНИЯ «ИНСТИТУТ ПРОМЫШЛЕННОЙ БЕЗОПАСНОСТИ», УДОСТОВЕРЯЮЩИМ СООТВЕТСТВИЕ ПГА ТРЕБОВАНИЯМ ТЕХНИЧЕСКОГО РЕГЛАМЕНТА ТАМОЖЕННОГО СОЮЗА «О БЕЗОПАСНОСТИ ОБОРУДОВАНИЯ ДЛЯ РАБОТЫ ВО ВЗРЫВООПАСНЫХ СРЕДАХ» (ТР ТС 012/2011).
-
СЕРТИФИКАТ НА ТИП ПРОДУКЦИИ СООТВЕТСТВУЮЩЕЙ ТРЕБОВАНИЯМ ТР ТС № ЕАЭС RU.CT-RU. МО10.В.00665. ПНЕВМОГИДРОАККУМУЛЯТОР ТИПА ПГА
-
СЕРТИФИКАТ СООТВЕТСТВИЯ ТР ТС 032 НА ПНЕВМОГИДРОАККУМУЛЯТОРЫ ТИПА ПГА, ПГА-В
-
ДЕКЛАРАЦИЯ О СООТВЕТСТВИИ ТР ТС 032 НА ПНЕВМОГИДРОАККУМУЛЯТОРЫ ТИПА ПГА, ПГА-В
-
СЕРТИФИКАТ СООТВЕТСТВИЯ ТР ТС 012 ЕАЭС RU C-RU.ПБ98.В.00458/24 НА ПНЕВМОГИДРОАККУМУЛЯТОРЫ ТИПА ПГА, ПГА-В С МАРКИРОВКОЙ ВЗРЫВОЗАЩИТЫ
-
ДЕКЛАРАЦИЯ О СООТВЕТСТВИИ ЕАЭС N RU Д-RU.РАОЗ.В.16583/22 ПНЕВМОГИДРОАККУМУЛЯТОРЫ ТИПА ПГА, ПГА-В